I found this patent recently and was impressed with it’s simplicity. Filed in 2001 by Giovanni Gaglio, it appears to be a magnetic pole piece with two wires wrapped around it, rather than one. How is this a novel advancement? Gaglio explains the issue his invention solves:
In particular, it has been found that output level on one hand, and fidelity and capacity to reproduce an extended frequency range on the other hand are contradictory properties. In fact, by increasing output level in volts of the pick-up device, gradually the capacity to reproduce high frequencies is lost, whereas an extremely accurate pick-up device, able to reproduce a wide frequency range cannot offer an adequate output level.
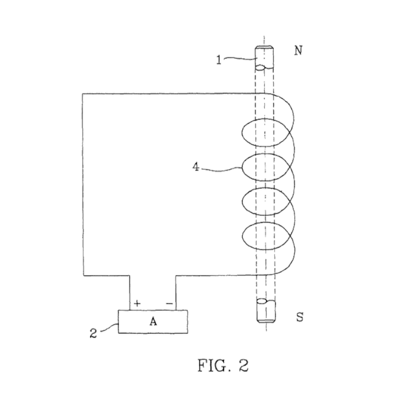
Electromagnetic pickups are just that – electromagnets: a magnetic material wrapped many (usually hundreds) of times with very thin copper wire. When an electromagnet is placed underneath metal strings, the strings become partially magnetized and are effectively a part of the magnetic field. As strings vibrate this disturbance causes a momentary collapse in the field and frees electrons to pass down a circuit. That phenomenon is called induction.
Electric generators follow this same principle: pass a magnet over copper wire to induce voltage. Increasing the number of turns of wire and its respective gauge, produces more voltage. Nikola Tesla’s Dynamo Electric Machine took this principle and by spinning magnets of opposite polarity, was able to induce large voltages with sinusoidal uniformity, and thus created alternating current.

With the phenomenon of induction in mind, what does Gaglio mean that “increasing output voltage hurts the ability to reproduce high frequencies”? As the number of windings increases around the magnet, it effectively increases the resistance of the pickup itself. Higher resonant frequencies and overtones have far less energy to induce change in the magnetic field and travel through this increased resistance and so, are attenuated. It’s for this reason that many electromagnetic guitar pickups targeting acoustic guitars sound way too muddy from the low end, and do not faithfully reproduce the acoustic “shimmer”.


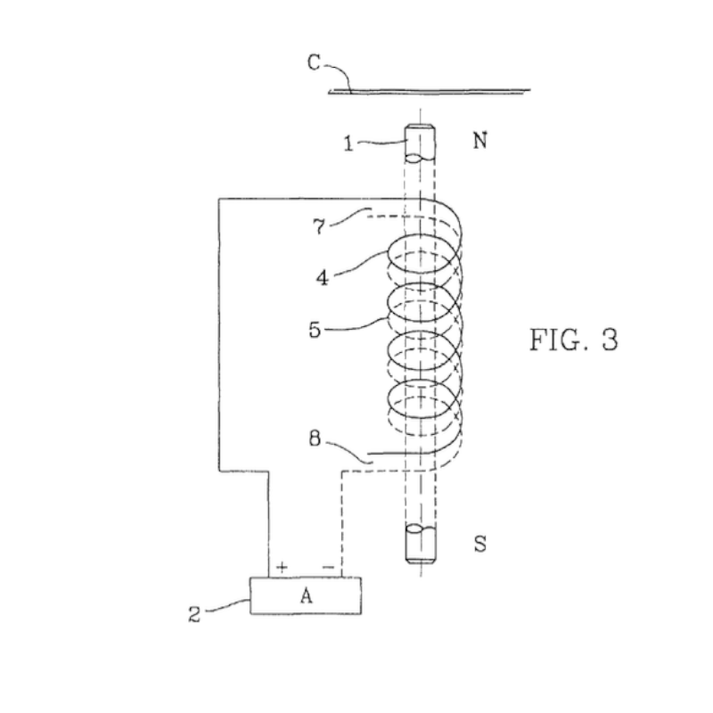
So what is Galgio’s solution here? It is remarkably simple but not obvious. Figure 3 shows a doubling of the wire in figure 2, one wire being solid (lead 4) and the other dashed (lead 5) to distinguish them. Notice that the wires do not have continuity but remain unconnected (see points 7 and 8 in Fig. 3). How is electricity supposed to flow?

We are left with the briefest explanation and no further elaboration:
The continuity in the transmission of signal between lead 4 and lead 5 of the double-lead winding is obtained through the capacitor ideally as the result of the amount of parasite capacities that are generated between each turn of lead 4 and the one of the lead 5.
By “parasite capacities” he’s referring to the property known as parasitic capacitance: a usually undesired side-effect where two different charge carrying transmission lines are close enough in proximity to one another that they form a capacitive coupling. As with any capacitor, signals can flow through this coupling and that’s exactly how the circuit in Figure 3 is completed.
The “output voltage vs frequency response” issue is fixed because the path taken from lead 4 to lead 5 is through the parasitic capacitor formed across the two windings, despite ends of the windings being unconnected. Thus, you can wind a lot of wire to get a higher output voltage and still get the higher frequencies.
Sadly, I’ve been unable to find any examples of Gaglio’s concept, so it’s difficult to say whether it would work, or if the corresponding amount of wire turns would have to be so high, it didn’t make such an arrangement practical.To say there is a lesson is probably quite unnecessary and pedantic, but I’d recon it would be something like:
“There’s always another path you can take.”

